Breadcrumbs

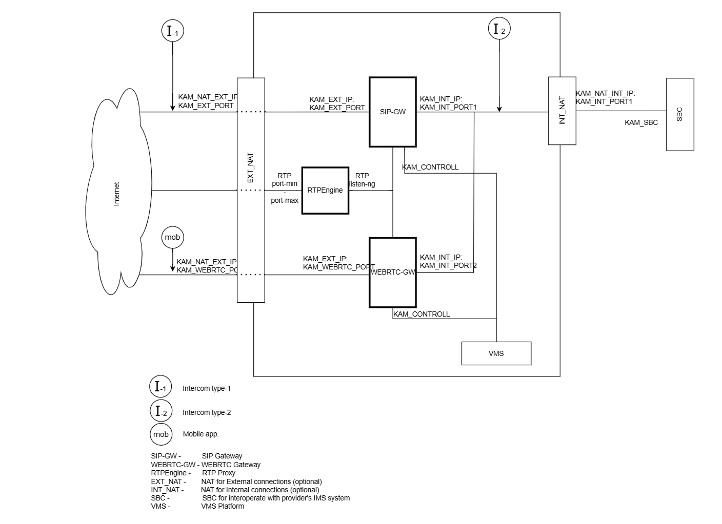
Архитeктурная схeма Voice Gateway

На схеме показаны переменные окружения и параметры, используемые в конфигурации Voice Gateway.

image 54 (7).png

ENV или PARAMS

Порт

Направление

Дополнительная информация

EXT_PORT

5969 TCP/UDP

IN

Сервис SIP для облачных домофонов (Спутник)

INT_PORT1

5060 TCP/UDP

IN

Сервис SIP для автономных домофонов (Beward и Интерсвязь)

WEBRTC_PORT

7443 TCP

IN/OUT

WebRTC для обработки соединений от мобильных приложений

RTP_PORT_MIN
RTP_PORT_MAX

20000 - 25000 UDP

IN/OUT

RTP-медиа